
杉杉系的遗产争夺战似乎迎来了大结局:90后男儿郑驹辞去董事长职务云开体育,由他的80后继母周婷接任。
在公栽种布的信件中,周婷称,本年下半年以来,因为多重身分的类似,杉杉控股和杉杉集团碰到了较大的挑战……“感谢各人的信任和复旧,推荐我来担任杉杉企业的领头东说念主。”
红星成本局精好意思到,杉杉股份(600884.SH)的事迹下滑显着。在本年前三季度,杉杉股份的营收约为132.84亿元,同比下跌9.69%;净利润约为2321万元,同比下跌98.07%。
不仅如斯,杉杉系企业的筹画还濒临细心重贫穷,罚单、资金急切、股权冻结……
80后继母开“炮”干预董事会
一切发源于2023年2月。彼时,杉杉系的首创东说念主郑永刚去世,他的遗孀周婷、男儿郑驹(郑驹母亲为郑永刚前妻)开启了遗产争夺大战。
其中,周婷诞生于1982年,曾任上海市青联委员,浙江卫视、东方卫视新闻部记者、主播,第一财经集团电视新闻部记者、主播。
而郑驹诞生于1991年。红星成本局通过公众号“杉杉通”精好意思到,至少在2015年,郑驹已干预杉杉系企业责任。在郑永刚去世后,郑驹当选为杉杉股份的董事长。

郑永刚与郑驹,图据公众号“杉杉通”
早先开“炮”的东说念主是周婷。
据国外金融报报说念,在郑驹当选为董事长今日(2023年3月23日),周婷现身杉杉股份的鼓吹大会,并指称此次鼓吹大会是违法和诞妄的。
周婷以为,动作郑永刚的现任匹俦及3名亲生子女的法定监护东说念主,基于禁受关系,她应当为杉杉股份的本色戒指东说念主,且应由她来填补空白的董事席位。
同期,据杉杉股份暴露的公告,周婷在功令层面也采纳了措施。
2023年3月,周婷极度三位未成年子女向法院拿起民事诉讼并恳求财产保全,杉杉股份的障碍控股鼓吹的控股鼓吹——宁波青刚投资有限公司(下称“宁波青刚”)51%股权被冻结。
直到2023年5月,事态有了变化。
2023年5月10日,杉杉股份召开鼓吹大会,周婷当选非寂寞董事,郑驹当选董事长;尔后,杉杉股份发公告称,宁波青刚被冻结的51%股权拆除冻结。
遗产争夺战瞬息落下帷幕,周婷成为董事,郑驹依然董事长。
90后男儿掌管杉杉事迹欠安
自郑驹坐上董事长的位置至本年11月,已曩昔约一年半的时辰,但在此技能,杉杉股份的事迹显着下滑。
公开府上暴露,郑永刚于1989年创立杉杉,以服装业务起家。1999年,杉杉转型干预锂电板材料鸿沟,后又收购LG化学偏光片业务,形成了“锂电板负极材料+偏光片”双业务花样。
红星成本局翻阅杉杉股份的财报发现,2023年,杉杉股份的营收约为190.70亿元,同比下跌12.13%;净利润约为7.65亿元,同比下跌71.56%。
而在本年前三季度,杉杉股份的营收约为132.84亿元,同比下跌9.69%;净利润约为2321万元,同比下跌98.07%。

截图自杉杉股份公告
关于事迹的下滑,杉杉股份在公告中给出了三粗豪义:
1、两伟业务均受行业周期变动影响,阛阓竞争热烈,居品价钱同比下跌,导致净利润同比拟大幅度减少;
2、剥离非中枢钞票,以及部分参股企业亏蚀较大,对当期事迹形成较大不利影响;
3、旧年同期出售了电解液业务部分股权,证据了约2.44亿元投资收益,而本期莫得此业务对应的投资收益。
不仅是事迹下滑,郑驹本东说念主也因企业的不按序运营收到规律刑事株连。
经宁波监管局查明,杉杉股份极度控股鼓吹杉杉控股有限公司(下称“杉杉控股”)存在两项违法举止:①杉杉控股通逾期骗供应商、工程施工方等模样占用杉杉股份资金情形,且未实时暴露;②部分干系交游未履行审议时局且未实时对外暴露。
其中,从2022年1月至2024年4月,杉杉控股累计占用17.88亿元。
本年11月,上海证券交游所下发规律刑事株连决定书,对杉杉控股给予公开批驳,对杉杉股份实时任董事长的郑驹等东说念主给予通报月旦。
周婷接任董事长
发布公开信:负重致远
11月18日,杉杉股份突发公告称,郑驹因责任原因恳求辞去董事长职务,董事会现选举董事周婷为董事长。
周婷即前盛名财经主播慰笛 截图自中国筹画报
今日,周婷通过公众号“杉杉通”发布《致整体杉杉同仁的一封信》。
周婷称,在难懂时刻(指郑永刚去世时),郑驹勇挑重任,全面接办杉杉,为保管公司的清楚和发展作出了孝敬,公司董事会暗示由衷感谢!今日,她和郑驹已完成责任交代。
周婷还在信中称,本年下半年以来,因为多重身分的类似,杉杉控股和杉杉集团碰到了较大的挑战……她深知:在现时情况下,时辰蹙迫、株连要紧,她将负重致远投身杉杉的筹画贬责,也但愿不息获取整体杉杉同仁的复旧和匡助。
红星成本局精好意思到,现时,杉杉系企业碰到的贫穷不仅是事迹下滑,还有资金急切等问题。
11月8日,杉杉股份发公告称,其控股鼓吹杉杉集团有限公司(下称“杉杉集团”)因融资融券业务债务逾期,其通过国泰君安(601211.SH)客户信用交游担保证券账户抓有公司6523万股股份存在被强制平仓的风险。
松手该公告暴露日,杉杉集团并吞口径(除杉杉股份外)有息欠债总数为122.65亿元,其中1年内到期的短期债务为114.20亿元,当今其有息债务均闲居存续。
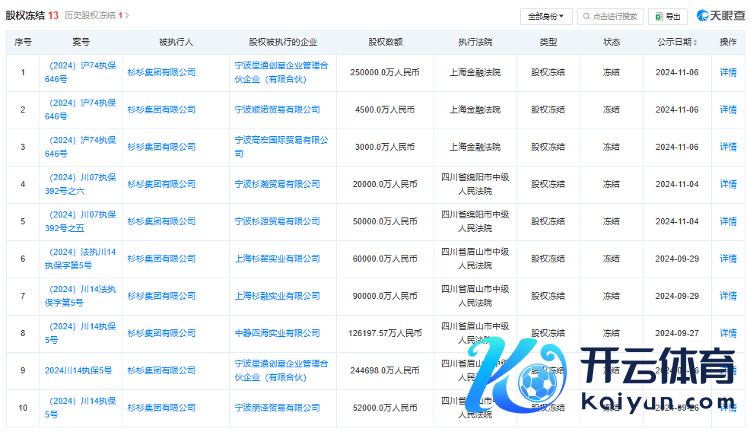
不仅如斯,天眼查APP暴露,本年以来,杉杉集团、杉杉控股有限公司等杉杉系企业屡次被列为被实际东说念主,其抓有的股权屡次遭到功令冻结。
截图自天眼查
周婷能逐个处理好这些难题吗?
红星新闻记者 杨佩雯云开体育
热点资讯